Task
クレードルを取り付ける
別売のソニー製の専用クレードル(SGPDS1)を使うと、タブレットデバイスを充電しながら見やすい角度に置くことができます。【詳細】
クレードルに置いている間も、タブレットデバイスのアプリを起動できます。
クレードルを取り付ける
-
クレードルの支えの部分を上にスライドし、ACアダプターを取り付けられるようにする。

-
クレードル底面の電源ケーブル端子に、ACアダプターをつなぐ。

-
ACアダプターをコンセントにつなぐ。
-
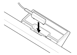
タブレットデバイスの充電端子と、クレードル内側の充電端子の位置を合わせる。

-
タブレットデバイスをクレードルに置く。
-
充電ランプが点灯していることを確認する。
ご注意
-
ACアダプターを付けたり外したりするときに、端子部分に触らないでください。
-
ACアダプターを外すときにケーブル部分を無理に引っぱると、ACアダプターやケーブルが壊れるおそれがあります。クレードルの支えの部分をしっかり持って外してください。
-
支えの部分を下にスライドした状態でクレードルを置くときは、ケーブルがクレードルの下に挟まれないよう、支えの切り欠き部分にケーブルを通してください。
-
ストラップを取り付けたままクレードルに設置する場合は、ストラップが端子部分に挟み込まれないようにしてください。
ヒント
-
はじめてタブレットデバイスをクレードルに置いたときは、アプリを選択する画面が表示されます。[常にこの操作で使用する]にチェックマークを付けてアプリを選択すると、次回からはタブレットデバイスをクレードルに置くだけで、選んだアプリが自動で起動するようになります。
-
お買い上げ時の設定に戻すには、次の手順を行います。[
Apps] - [
設定] - [
アプリケーション] - [アプリケーションの管理] - (自動で起動するように設定したアプリ)を順にタップして、アプリの管理画面を表示します。[設定を消去]をタップすると、設定が解除されます。
クレードルを取り外す
タブレットデバイスを、まっすぐに持ち上げる。
関連トピック
