ブルーレイディスク/DVDレコーダー サポート・お問い合わせ
|
| 対象製品 |
|---|
| BDZ-ET2200 / ET1200 / EW1200 / EW520 / E520 |
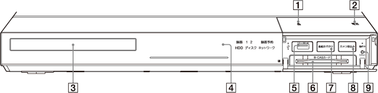
本体のボタンはリモコンの同じ名前のボタンと同じ働きをします。
各部の説明はリンク先のページをご覧ください。

イラストはBDZ-EW520です。

(USB)端子
* 対象製品:BDZ-ET2200 / ET1200 / EW1200 / EW520



(USB)HDD専用端子
* 対象製品:BDZ-ET2200 / ET1200 / EW1200 / EW520

![]() |
TV電源 |
|---|---|
![]() |
電源 |
![]() ![]() ![]() ![]() |
カラーボタン 各画面を操作するときに使用します。各画面により、ボタンが持つ機能が異なります。 |
![]() |
TV操作 |
![]() |
もくじでジャンプ |
![]() |
入力切換 |
![]() |
らくらくスタート らくらくスタートメニュー画面を表示または閉じます。 |
|---|---|
![]() |
番組表 番組表を表示または閉じます。 |
![]() |
録画リスト 映像(タイトル)の一覧を表示します。 |
/![]() |
![]() ![]() ![]() /決定項目を選択したり、確定したりします。 |
![]() |
戻る 前の画面に戻ったり、画面を閉じたりします。 |
![]() |
オプション オプションメニューを表示または閉じます。 |
![]() |
ホーム ホームメニューを表示または閉じます。 |
![]() |
前 |
|---|---|
![]() ![]() |
10秒戻し/15秒送り 再生中の画面の少し前に戻ります。または、再生中の画面の少し先に進みます。 |
![]() |
次 次のチャプターなどに移動します。 |
![]() |
早戻し 早戻し再生、スロー逆再生、コマ戻し再生します。 |
![]() |
再生* 番組や映像などの再生を開始します。 |
![]() |
早送り 早送り再生、スロー再生、コマ送り再生します。 |
![]() |
録画 録画を開始します。 |
![]() |
一時停止 再生を一時停止します。 |
![]() |
停止 録画、再生などを停止します。 |
![]() |
音量+/− 音量を調節します。 |
![]() |
画面表示 見ている画面の補足情報を表示したり、非表示にしたりします。 |
![]() |
消音 |
![]() |
チャンネル+*/− チャンネルを切り換えます。 |
![]() |
番組説明 番組説明画面を表示または閉じます。 |
|---|---|
![]() |
削除 録画した映像(タイトル)を消去します。 |
![]() |
チャプター書込み 録画したタイトルにチャプターマークを付けます。 |
![]() |
d 連動データ 視聴中の番組と、その番組に連動するデータ放送への切り換えを行います。 |
![]() |
開/閉 |
![]() ![]() |
音声切換*/字幕切換 音声を切り換えます。または、字幕を切り換えます。 |
![]() |
ポップアップ/メニュー BD-ROMのポップアップメニューやDVDのメニューを表示または閉じます。 |
![]() ![]() ![]() |
地デジ/ BS / CS (地上デジタル/BSデジタル/CSデジタル)放送を切り換えます。 同じボタンをくり返し押すと、テレビ→ラジオ→データの順で放送に合わせて切り換えます。 |
|---|---|
![]() |
10キー |
〜![]() |
数字ボタン1 〜 12* |
* 凸(突起)が付いています(数字ボタンは「5」のみ、《チャンネル+/−》は「+」のみ)。操作の目印としてお使いください。
![]()
《開/閉》ボタン/《ホーム》ボタン/《番組表》ボタン/
《再生》ボタン